The strain clamp (strain clamp, dead-end clamp) refers to the metal fittings used to fix the wires to bear the tension of the wires and hang the wires to the strain strings or towers.
According to the design, the tension clamp is divided into Wedge type tension clamp, Cone tension clamp, Compression dead end clamp, Bolted type tension clamp.
Tension clamps are used for corners, splices, and terminal connections. Spiral aluminum-clad steel wire has extremely strong tensile strength, no concentrated stress, and plays a role in protection and auxiliary vibration reduction for optical cables. A complete set of cable tension fittings includes: tension pre-twisted wire, supporting connection fittings. The gripping force of the cable clamp is not less than 95% of the rated tensile strength of the optical cable. The installation is convenient and fast, and the construction cost is reduced. Suitable for ADSS optical cable lines with a span of ≤100 meters and a line angle of <25°.
The special design of the strain clamp enables it to be well matched with other power fitting components on the transmission line.
The clip has high strength and reliable grip. The grip strength of the clamp is not less than 95% CUTS (calculated breaking force of stranded wire).
The stress distribution of the wire clip on the twisted wire is even, without damaging the twisted wire, which improves the anti-vibration ability of the twisted wire and greatly prolongs the service life of the wire.
Simple installation and convenient construction. The construction time can be greatly shortened, and the operation can be completed by one person without any special tools.
Good corrosion resistance, high-quality materials are selected. The material is exactly the same as that of the wire, which ensures that the clamp has a strong ability to resist electrochemical corrosion.
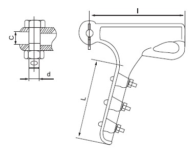
Bolted type strain clamp
| Type | Conductor Diameter (mm) | Dimensions (mm) | Rated Failure Load (KN) | |||
| L | I | C | d | |||
| NLL-1 | 5.1-11.4 | 125 | 110 | 18 | 16 | 40 |
| NLL-2 | 11.4-16 | 175 | 186 | 20 | 16 | 40 |
| NLL-3 | 14.5-17.5 | 190 | 205 | 22 | 16 | 70 |
| NLL-4 | 18-22.4 | 300 | 285 | 30 | 18 | 90 |
| NLL-5 | 23-30 | 445 | 345 | 36 | 24 | 120 |

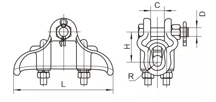
XGH type suspension clamp
|
Model
|
Application Conductor (mm)
|
Dimension (mm)
|
Rated Failure
Load (KN)
|
||||
| H | C | D | R | L | |||
| XGH-2 | 5.1-12.5 | 52.5 | 25 | 16 | 18 | 166 | 40 |
| XGH-3 | 12.4-17 | 50.5 | 23 | 16 | 11.5 | 200 | 40 |
| XGH-4 | 19.0-23.5 | 50.5 | 27 | 16 | 13.5 | 225 | 40 |
| XGH-5 | 24.2-28.0 | 70 | 32 | 16 | 16 | 260 | 60 |

Send us a message if you have any questions or request a quote.Our experts will give you a reply within 24 hours
and help youselect the right valve you want.